找回密码
 立即注册
澳门威尼斯人
U8
U18
海燕招商
A
蓝盾
e世博
islot.
申博亚洲
澳门银河
B
开云
腾博会
德信
C级广告商
吉祥坊
华体会
查看: 176599|回复: 45

[真人] 【实战有奖】今天在申博亚洲平注平稳一下情绪

[复制链接]

1938

主题

3万

回帖

562

金币

铂金用户

积分
93172

万时之王老会员超级精华精华勋章勤奋勋章交易勋章

发表于 2024-9-9 15:29 | 显示全部楼层 |阅读模式

马上注册,结交更多好友,享用更多功能,让你轻松玩转社区。

您需要 登录 才可以下载或查看,没有账号?立即注册

×
美东时间昨天,又是来了波过山车,下午先是输了1000多,然后到傍晚是回本,晚上继续战斗,居然给我反过来赢了1000多,最后睡眠不好,到凌晨四点多还是睡不着,然后就是自己作死,将盈利的1000多全部送回去了还倒贴了将近1000元,好在没有彻底上头,忍住了之后没有再去追数,但自己心态的波动厉害到什么程度,也是自己心知肚明。
- A# {* ~1 E8 K6 E7 Q/ [! l# M( I4 n$ |' _6 R7 \
! @) z3 ^* `( z9 q
& f) O% n5 o" N& f- T2 p
菠菜是孤独的,也是郁闷的,赢了不会与人分享,输了自己独自承受,所以,有时候经常有些不应该的小情绪,控制不好,就是会爆发。我昨天就显然是这种情况,每天小心翼翼,如履薄冰,但总有偶有爆发,一爆发,受伤的就是自己的钱包。
/ d2 Z' P* H- \: n& }7 J
( F& w; U' [/ `4 `0 C5 n- X今天睡了一个上午,午饭后继续睡到现在,然后到申博亚洲存款200,作战bbin百家乐。
: e' q6 F1 O  p4 f+ p) I
/ u  @7 `* [3 ~  P最主要的,就是平复自己的心态。0 |, l; e: A& m8 H

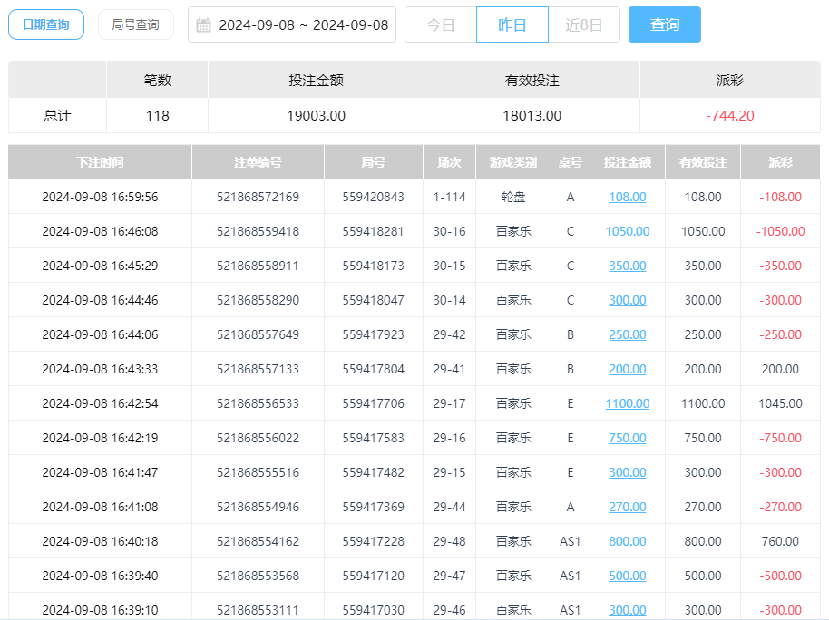
" M- X% F; Q) O) ~2 `5 x" z于是,最小的注码20打平注,这样打了11手,赢6手输5手,也是有十几块钱的利润,于是提款走人。, n, x% |# u  f6 x

7 w. T5 H; q% H1 _, | QQ20240909-152059.jpg QQ20240909-150700.jpg QQ20240909-150645.jpg
/ f! j0 C* m) Q
6 l7 m" f5 ?+ x$ R! b
4 b& H2 }$ k4 k5 N想想也是可笑,今天凌晨上头的时候,注码打到一千多一手,赢了因为没有达到预期目标,都不收手,然后几手就送回去2000多。现在赢了十几块钱,却乖乖提款了,真是巨大的反差,莫大的讽刺。+ S$ g$ y8 W$ V0 p' q, |9 O2 u
+ G% _! ?2 M8 J$ @2 i5 L; m7 H0 J; S9 c

9 f( ]5 V' k: Z% k$ s$ b QQ20240909-152532.jpg
8 b" n! O6 A, c. s* ^" ]2 ]( `" d- M) [+ z0 b5 i

; V, e% ]- U% C8 M这也许就是,赌狗的无奈......
- V; W; [; ^  A$ R
6 \: E4 |+ S1 Z3 Q: N
回复

使用道具 举报

252

主题

1万

回帖

1654

金币

金牌会员

积分
31830

老会员

发表于 2024-9-9 15:35 | 显示全部楼层
情绪还是比较关键的,希望楼主能够调整好了,以后多多赢钱的。
回复 支持 反对

使用道具 举报

1938

主题

3万

回帖

562

金币

铂金用户

积分
93172

万时之王老会员超级精华精华勋章勤奋勋章交易勋章

 楼主| 发表于 2024-9-9 18:09 | 显示全部楼层
黑雨衣大盗 发表于 2024-9-9 15:35
  V3 Z1 z8 W2 Y: ^: ^) Y情绪还是比较关键的,希望楼主能够调整好了,以后多多赢钱的。

: K; x7 S$ \. K' R  T" I当天第一场 肯定是需要稳定一下情绪 毕竟昨天大起大落了
回复 支持 反对

使用道具 举报

3

主题

2657

回帖

1191

金币

铜牌用户

积分
8564

老会员

发表于 2024-9-9 18:24 | 显示全部楼层
赢了就想继续搏,输了又不甘心,结果往往就是越陷越深。其实你这样及时止损,还能抽身出来,已经算不错了。我现在也在努力调整自己,平注小玩,心态放平,不去追求大起大落,至少能睡个安稳觉。
回复 支持 反对

使用道具 举报

3411

主题

8万

回帖

9624

金币

海燕硕士

积分
236129

万时之王老会员精华勋章勤奋勋章交易勋章光影行者

发表于 2024-9-9 21:09 | 显示全部楼层
其实这样的玩法才会玩得更加的长久啊
回复 支持 反对

使用道具 举报

3411

主题

8万

回帖

9624

金币

海燕硕士

积分
236129

万时之王老会员精华勋章勤奋勋章交易勋章光影行者

发表于 2024-9-9 21:09 | 显示全部楼层
秦皇汉武 发表于 2024-9-9 18:09
* Y+ C- n7 \8 O$ w! X- L) ~当天第一场 肯定是需要稳定一下情绪 毕竟昨天大起大落了

! G9 W5 g, ~3 A1 E- x当然玩游戏其实还是最不希望的就是这种大起大落的呀
回复 支持 反对

使用道具 举报

3411

主题

8万

回帖

9624

金币

海燕硕士

积分
236129

万时之王老会员精华勋章勤奋勋章交易勋章光影行者

发表于 2024-9-9 21:09 | 显示全部楼层
黑雨衣大盗 发表于 2024-9-9 15:35
5 s6 u# s; h/ B, Z情绪还是比较关键的,希望楼主能够调整好了,以后多多赢钱的。
* A  }. {2 J1 d  {  U. m
只要能够情绪稳定了,那么就赚钱还是会比较容易的呢
回复 支持 反对

使用道具 举报

67

主题

8914

回帖

1047

金币

金牌会员

积分
24249

老会员光影行者

发表于 2024-9-9 21:20 | 显示全部楼层
楼主这个运气真让人无语的,连黑那么多次,真是无语了
回复 支持 反对

使用道具 举报

843

主题

2万

回帖

1万

金币

铂金用户

积分
88141

老会员精华勋章魅力达人

发表于 2024-9-9 22:33 来自手机 | 显示全部楼层
我非常理解你这种心情的,作为职赌每天都是要如履薄冰想赚多点利润才有安全感的。但菠菜这行哪有这么容易啊,如果不是天赋过人财力雄厚,要跟庄家长期博弈非常之辛苦的。
回复 支持 反对

使用道具 举报

843

主题

2万

回帖

1万

金币

铂金用户

积分
88141

老会员精华勋章魅力达人

发表于 2024-9-9 22:38 来自手机 | 显示全部楼层
风云变幻 发表于 2024-9-9 18:24
5 q2 B1 `9 j+ q赢了就想继续搏,输了又不甘心,结果往往就是越陷越深。其实你这样及时止损,还能抽身出来,已经算不错了。 ...
* O/ o) t4 G4 m* h2 n
道理都懂,但楼主是靠这个来维持生活的,每天的生活支出不小,如果小赌对他来说意义就不大了,所以还是希望他能有份工作这样才能踏实的玩得长久些。
回复 支持 反对

使用道具 举报

843

主题

2万

回帖

1万

金币

铂金用户

积分
88141

老会员精华勋章魅力达人

发表于 2024-9-9 22:40 来自手机 | 显示全部楼层
lantianyun 发表于 2024-9-9 21:09
$ E& Q: S2 t9 W2 q$ a: ]( k其实这样的玩法才会玩得更加的长久啊

9 }1 j  Y1 b6 q我的理念是不比谁赢的多,比的是谁活得久,只有活得久才能看到希望。
回复 支持 反对

使用道具 举报

2619

主题

5万

回帖

6816

金币

钻石用户

积分
177628

万时之王老会员精华勋章勤奋勋章交易勋章

发表于 2024-9-9 23:22 来自手机 | 显示全部楼层
楼主这次以平注来平稳心态,这样也是可以的,先调整好心态
回复 支持 反对

使用道具 举报

2619

主题

5万

回帖

6816

金币

钻石用户

积分
177628

万时之王老会员精华勋章勤奋勋章交易勋章

发表于 2024-9-9 23:26 来自手机 | 显示全部楼层
linx1978 发表于 2024-9-9 22:40
3 K* z, s" f+ s) l9 y* F1 [2 Y6 z我的理念是不比谁赢的多,比的是谁活得久,只有活得久才能看到希望。

" N: X  e, U9 {: C/ y楼主控制力还是很不错的了,偶尔的上头也是正常的,我偶尔也会有冲动上头的时候
回复 支持 反对

使用道具 举报

2619

主题

5万

回帖

6816

金币

钻石用户

积分
177628

万时之王老会员精华勋章勤奋勋章交易勋章

发表于 2024-9-9 23:27 来自手机 | 显示全部楼层
黑雨衣大盗 发表于 2024-9-9 15:35
6 `7 s5 L7 |  X情绪还是比较关键的,希望楼主能够调整好了,以后多多赢钱的。

) d/ w7 e4 v5 i0 U! P9 }& a" L9 F天天菠菜,情绪想一直保持平稳,也不容易做到的了,希望楼主尽快调整好心态
回复 支持 反对

使用道具 举报

2457

主题

8万

回帖

5604

金币

海燕硕士

积分
226211

老会员超级精华精华勋章美女勋章勤奋勋章交易勋章万时之王

发表于 2024-9-10 06:56 | 显示全部楼层
每天这样的玩也是辛苦的呀,不知道到底是图个什么呀,真的心累的
回复 支持 反对

使用道具 举报

您需要登录后才可以回帖 登录 | 立即注册

本版积分规则

广告合作|福利汇|论坛简介|钱包教程|手机版|小黑屋|Archiver|海燕论坛

快速回复 返回顶部 返回列表