找回密码
 立即注册
澳门威尼斯人
U8
U18
海燕招商
A
蓝盾
e世博
islot.
申博亚洲
澳门银河
B
开云
腾博会
德信
C级广告商
吉祥坊
华体会
查看: 42|回复: 8

[彩票] 顺利的彩票游戏日子真是太棒啦

 火.. [复制链接]

62

主题

2713

回帖

2161

金币

银牌会员

积分
11136

老会员

发表于 2026-3-27 12:49 | 显示全部楼层 |阅读模式

马上注册,结交更多好友,享用更多功能,让你轻松玩转社区。

您需要 登录 才可以下载或查看,没有账号?立即注册

×
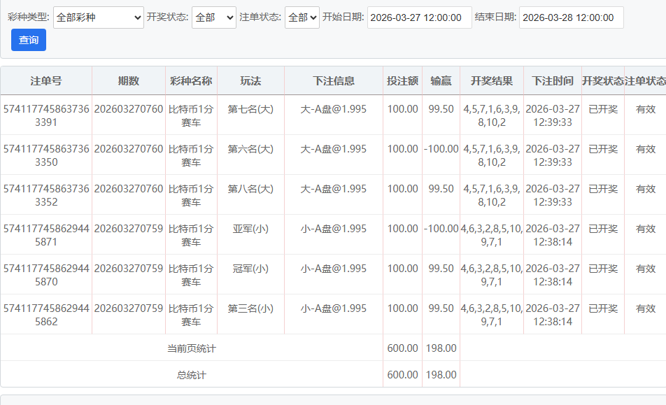
中午又是开始游戏比特币彩票游戏,但结果算是比较可以,稳定的注码和下注三定位两面,结果可想而知把握住,盈利198块钱也得走人;7 j1 e9 w  L' _# V2 c2 a
7 {3 p1 ]/ I1 f. R- A

3 K0 f- v  u. t  \/ k 2.jpg 1.jpg 0 g. c$ w2 `) y3 V. @

评分

参与人数 1金币 +6 收起 理由
海燕RG + 6 实战分享

查看全部评分

回复

使用道具 举报

2

主题

947

回帖

772

金币

高级用户

积分
4397
发表于 2026-3-27 13:59 | 显示全部楼层
结果还算可以吧,不算很多,够吃顿好的
回复 支持 反对

使用道具 举报

2618

主题

5万

回帖

6788

金币

钻石用户

积分
177548

万时之王老会员精华勋章勤奋勋章交易勋章

发表于 2026-3-27 14:24 来自手机 | 显示全部楼层
彩票赢了小200块钱,不错的
回复 支持 反对

使用道具 举报

2618

主题

5万

回帖

6788

金币

钻石用户

积分
177548

万时之王老会员精华勋章勤奋勋章交易勋章

发表于 2026-3-27 14:25 来自手机 | 显示全部楼层
秋天的落霞 发表于 2026-3-27 13:59
  n) ~& {9 G/ C* P$ S结果还算可以吧,不算很多,够吃顿好的
, J! f0 C# O+ U
楼主玩彩票真是太好了,又收获了小200大洋,能有这样的收益是本事
回复 支持 反对

使用道具 举报

6

主题

2648

回帖

3521

金币

银牌会员

积分
14943
发表于 2026-3-27 14:25 | 显示全部楼层
这样的成绩也是相当让人满意的了
回复 支持 反对

使用道具 举报

6

主题

2648

回帖

3521

金币

银牌会员

积分
14943
发表于 2026-3-27 14:27 | 显示全部楼层
浴火凤凰 发表于 2026-3-27 14:24  N& G( A( G6 b0 D8 C2 J8 H# f' K
彩票赢了小200块钱,不错的

2 A: M6 A" y! g; x' H3 Y' w这样的成绩还是非常满意的了
回复 支持 反对

使用道具 举报

6

主题

2648

回帖

3521

金币

银牌会员

积分
14943
发表于 2026-3-27 14:28 | 显示全部楼层
浴火凤凰 发表于 2026-3-27 14:255 `, o( s. h2 l2 Q' x" d# G
楼主玩彩票真是太好了,又收获了小200大洋,能有这样的收益是本事

" D$ _) o- A$ `, |& `2 i  [这样的成绩确实是非常棒的了
回复 支持 反对

使用道具 举报

0

主题

50

回帖

111

金币

初级用户

积分
382
发表于 2026-3-27 17:30 | 显示全部楼层
恭喜大获全胜,楼主技术超群
回复 支持 反对

使用道具 举报

91

主题

2万

回帖

7758

金币

铂金用户

积分
82066

老会员交易勋章魅力达人

发表于 2026-3-27 17:46 | 显示全部楼层
中午这波定位两面操作挺稳啊,见好就收,198块够加个鸡腿了
回复 支持 反对

使用道具 举报

您需要登录后才可以回帖 登录 | 立即注册

本版积分规则

广告合作|福利汇|论坛简介|钱包教程|手机版|小黑屋|Archiver|海燕论坛

快速回复 返回顶部 返回列表