找回密码
 立即注册
澳门威尼斯人
U8
U18
海燕招商
A
蓝盾
e世博
islot.
申博亚洲
澳门银河
B
腾博会
德信
C级广告商
吉祥坊
查看: 3582|回复: 94

[彩票] 晚上的彩票非常顺利收米390多块钱

[复制链接]

88

主题

2838

回帖

1182

金币

铜牌用户

积分
9709

老会员

发表于 2026-3-14 18:41 | 显示全部楼层 |阅读模式

马上注册,结交更多好友,享用更多功能,让你轻松玩转社区。

您需要 登录 才可以下载或查看,没有账号?立即注册

×
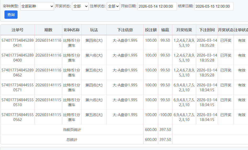
晚上的比特赛车居然能顺利赢到390多块钱,依旧是按100-200-300-450-600的节奏来下注。2 \. K9 A0 l) ~4 u; X$ N; j
1.jpg   o7 O9 o& q/ {# M. @  l
2.jpg
- y. {/ }, e# x9 ]2 F
! g2 I. H  _; G) R, R7 o
8 Z( l- |  `3 T, K# F; A% h/ K6 r0 Q3 @
' o4 c% n$ ~$ ~$ \5 m9 V

评分

参与人数 1金币 +6 收起 理由
海燕RG + 6 实战分享

查看全部评分

回复

使用道具 举报

232

主题

1万

回帖

3969

金币

千足金牌会员

积分
48782

老会员

发表于 2026-3-14 19:58 | 显示全部楼层
楼主玩彩票游戏非常有策略,更多结果来看也是有效果收获
回复 支持 反对

使用道具 举报

9

主题

285

回帖

1598

金币

高级用户

积分
4115
发表于 2026-3-14 20:06 | 显示全部楼层
还是楼主高啊,这场令人满意   
回复 支持 反对

使用道具 举报

9

主题

2万

回帖

7557

金币

铂金用户

积分
87642

光影行者

发表于 2026-3-14 20:38 | 显示全部楼层
这节奏稳得一批,小步慢跑不贪真能扛住波动,下次试试前几轮压更轻点
回复 支持 反对

使用道具 举报

5

主题

1万

回帖

6422

金币

千足金牌会员

积分
51870
发表于 2026-3-15 02:24 | 显示全部楼层
比特赛车按那阶梯节奏下居然收了390多,顺的时候这注码走得还挺稳啊
回复 支持 反对

使用道具 举报

1666

主题

8万

回帖

1万

金币

海燕硕士

积分
251493

万时之王老会员精华勋章勤奋勋章交易勋章光影行者

发表于 2026-3-15 05:48 | 显示全部楼层
楼主也是非常给力的收米了,非常满意的成绩
回复 支持 反对

使用道具 举报

1666

主题

8万

回帖

1万

金币

海燕硕士

积分
251493

万时之王老会员精华勋章勤奋勋章交易勋章光影行者

发表于 2026-3-15 05:48 | 显示全部楼层
蔬菜沙拉 发表于 2026-3-14 20:38* t! Q! c8 G/ I* T4 }
这节奏稳得一批,小步慢跑不贪真能扛住波动,下次试试前几轮压更轻点
' b( P- w2 P  a8 g
我们都是非常喜欢这样的盈利,要祝贺一下楼主的
回复 支持 反对

使用道具 举报

1666

主题

8万

回帖

1万

金币

海燕硕士

积分
251493

万时之王老会员精华勋章勤奋勋章交易勋章光影行者

发表于 2026-3-15 05:48 | 显示全部楼层
思维认知 发表于 2026-3-15 02:24
: T/ X' R  i1 [( z3 C比特赛车按那阶梯节奏下居然收了390多,顺的时候这注码走得还挺稳啊

- c4 c# S3 n% d1 |6 [' }6 P楼主是个玩彩票的高手,非常让人羡慕的了
回复 支持 反对

使用道具 举报

9

主题

1万

回帖

3301

金币

千足金牌会员

积分
61242

老会员光影行者

发表于 2026-3-15 06:32 | 显示全部楼层
节奏控制得不错,390的收益确实让人心里舒坦,这个下注模式挺稳的
回复 支持 反对

使用道具 举报

6

主题

6469

回帖

6955

金币

金牌会员

积分
32919
发表于 2026-3-15 06:56 | 显示全部楼层
比特赛车这节奏居然能捞到390多?100起步一步步加居然没翻船,手气是真顺啊,羡慕了
回复 支持 反对

使用道具 举报

6

主题

6469

回帖

6955

金币

金牌会员

积分
32919
发表于 2026-3-15 06:57 | 显示全部楼层
思维认知 发表于 2026-3-15 02:24
5 B3 t1 ?. [5 y" a比特赛车按那阶梯节奏下居然收了390多,顺的时候这注码走得还挺稳啊

" I7 r% T9 h5 J' D比特赛车那阶梯节奏居然稳收390多,顺的时候注码走得还挺舒服,看来摸对节奏是真省心,不像有时候瞎搞乱飘
回复 支持 反对

使用道具 举报

2631

主题

8万

回帖

4407

金币

海燕硕士

积分
235306

老会员超级精华精华勋章美女勋章勤奋勋章交易勋章万时之王

发表于 2026-3-15 07:22 | 显示全部楼层
彩票可以赚到这么多的钱也不容易
回复 支持 反对

使用道具 举报

2631

主题

8万

回帖

4407

金币

海燕硕士

积分
235306

老会员超级精华精华勋章美女勋章勤奋勋章交易勋章万时之王

发表于 2026-3-15 07:22 | 显示全部楼层
NO.2 发表于 2026-3-15 06:57
3 M7 _! o5 P7 h$ c) A, W7 ~% r比特赛车那阶梯节奏居然稳收390多,顺的时候注码走得还挺舒服,看来摸对节奏是真省心,不像有时候瞎搞乱 ...
/ u9 n% G- A( H9 n; ]' |$ J; x
有个好的节奏才能稳定的搞钱来的呀
回复 支持 反对

使用道具 举报

2631

主题

8万

回帖

4407

金币

海燕硕士

积分
235306

老会员超级精华精华勋章美女勋章勤奋勋章交易勋章万时之王

发表于 2026-3-15 07:22 | 显示全部楼层
cwx1994 发表于 2026-3-15 05:48
( k& j) n) `0 m, B. H  ]楼主是个玩彩票的高手,非常让人羡慕的了
) ~5 }0 t3 d* e9 S) \
确实也算一个高手吧,这样才能赚到钱
回复 支持 反对

使用道具 举报

2631

主题

8万

回帖

4407

金币

海燕硕士

积分
235306

老会员超级精华精华勋章美女勋章勤奋勋章交易勋章万时之王

发表于 2026-3-15 07:22 | 显示全部楼层
123 发表于 2026-3-14 20:069 K  `- E7 O7 o5 @3 v, t! J* T8 Z
还是楼主高啊,这场令人满意
9 Y' k/ P' E; X" I5 A. b1 H
也没有什么好羡慕的吧,几百块钱而已
回复 支持 反对

使用道具 举报

您需要登录后才可以回帖 登录 | 立即注册

本版积分规则

广告合作|福利汇|论坛简介|钱包教程|手机版|小黑屋|Archiver|海燕论坛

快速回复 返回顶部 返回列表