找回密码
 立即注册
澳门威尼斯人
U8
U18
海燕招商
A
蓝盾
e世博
islot.
申博亚洲
澳门银河
B
腾博会
德信
C级广告商
吉祥坊
查看: 3142|回复: 89

[彩票] 比特彩票走势不定艰难收904元

[复制链接]

88

主题

2838

回帖

1182

金币

铜牌用户

积分
9709

老会员

发表于 2026-2-28 19:42 | 显示全部楼层 |阅读模式

马上注册,结交更多好友,享用更多功能,让你轻松玩转社区。

您需要 登录 才可以下载或查看,没有账号?立即注册

×
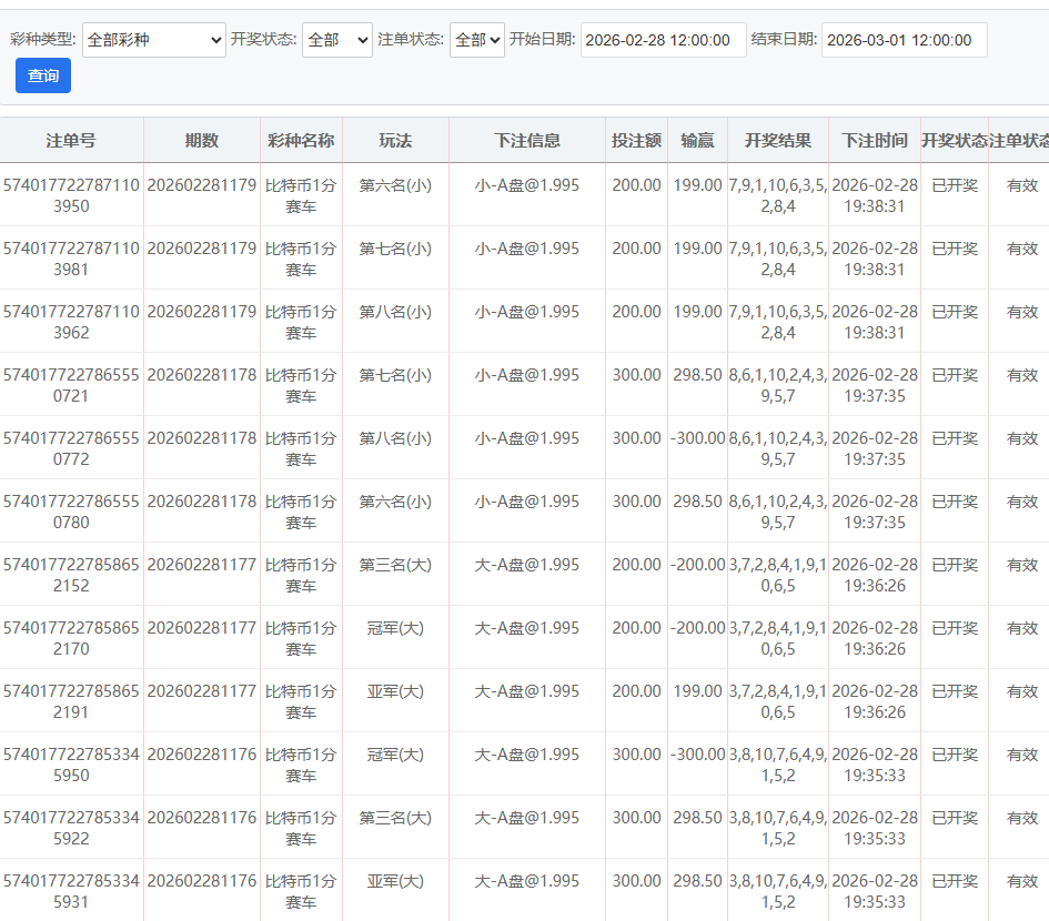
晚上继续着 70-150-200-300-500的战略彩票下注 三定位两面玩法,输了一直往上推到500赢后则从赢时的注码往下推到最低70的位置,投注9000多才收904元;! e. P/ Y) C% ]" V& k: \
1 a4 M' U* e- [0 G& ~2 l

9 t/ i6 K$ f) \7 _4 V& s$ a; o 2.png 3.png 1.png
, y: p( j3 k) V7 l! [7 X' T7 g

评分

参与人数 1金币 +8 收起 理由
海燕RG + 8 实战分享

查看全部评分

回复

使用道具 举报

3510

主题

2万

回帖

1万

金币

版主

积分
96174

优秀版主老会员版主勋章超级精华

发表于 2026-2-28 19:50 | 显示全部楼层
主要还是要看胜率,否则很难扛得住了
回复 支持 反对

使用道具 举报

232

主题

1万

回帖

3969

金币

千足金牌会员

积分
48782

老会员

发表于 2026-2-28 20:13 | 显示全部楼层
这次幸运的,下次就得要再稳点才行呀
回复 支持 反对

使用道具 举报

1459

主题

1万

回帖

1万

金币

千足金牌会员

积分
59537

老会员财富勋章精华勋章交易勋章热心会员魅力达人

发表于 2026-2-28 20:29 | 显示全部楼层
这样的盈利已经很不错了
回复 支持 反对

使用道具 举报

9

主题

2万

回帖

7557

金币

铂金用户

积分
87642

光影行者

发表于 2026-2-28 20:36 | 显示全部楼层
这节奏太折磨人了,推注推到500才回血,9000砸下去就捞900多,心疼钱包
回复 支持 反对

使用道具 举报

9

主题

2万

回帖

7557

金币

铂金用户

积分
87642

光影行者

发表于 2026-2-28 20:36 | 显示全部楼层
笑看人生 发表于 2026-2-28 20:290 W/ C, P( b0 Y5 J# b7 t
这样的盈利已经很不错了

5 e% A* e( J2 p9 a# j能稳住900+已经算硬核了,这走势能抠出来真不容易
回复 支持 反对

使用道具 举报

9

主题

2万

回帖

7557

金币

铂金用户

积分
87642

光影行者

发表于 2026-2-28 20:36 | 显示全部楼层
hy188820 发表于 2026-2-28 20:13
+ J& s+ \5 J4 c( Q这次幸运的,下次就得要再稳点才行呀
# }% F. w+ _5 \: k2 [
走势飘忽确实难搞,稳着来才能细水长流,下次别急着冲
回复 支持 反对

使用道具 举报

619

主题

1万

回帖

4678

金币

千足金牌会员

积分
42759

老会员

发表于 2026-2-28 23:27 | 显示全部楼层
如此丰厚的回报令人赞叹,这是楼主的实力
回复 支持 反对

使用道具 举报

619

主题

1万

回帖

4678

金币

千足金牌会员

积分
42759

老会员

发表于 2026-2-28 23:28 | 显示全部楼层
蔬菜沙拉 发表于 2026-2-28 20:36- J  Y, f6 m3 ~5 Q- \3 Y! [$ D7 C
走势飘忽确实难搞,稳着来才能细水长流,下次别急着冲
8 Q0 a9 U+ M5 @1 r  n
4 A( P8 r' G1 K, g2 n
能长期保持盈利状态就实属难得
回复 支持 反对

使用道具 举报

5

主题

1万

回帖

6422

金币

千足金牌会员

积分
51870
发表于 2026-3-1 02:25 | 显示全部楼层
这推注玩法投九千多才收九百出头,走势不定真够磨人的,这收益和投入比看着也挺闹心
回复 支持 反对

使用道具 举报

5

主题

1万

回帖

6422

金币

千足金牌会员

积分
51870
发表于 2026-3-1 02:26 | 显示全部楼层
一路前行 发表于 2026-2-28 23:28
* A  r) g* I( h8 x1 @能长期保持盈利状态就实属难得
" Y. n  U# K4 W1 [/ u! Q# f, H, U! g
走势那么飘能长期稳着赚真不容易,这次收904也算是熬过来了,别贪稳着来就好
回复 支持 反对

使用道具 举报

1666

主题

8万

回帖

1万

金币

海燕硕士

积分
251493

万时之王老会员精华勋章勤奋勋章交易勋章光影行者

发表于 2026-3-1 05:37 | 显示全部楼层
可以赢这么多钱也是非常厉害的了。
回复 支持 1 反对 0

使用道具 举报

1666

主题

8万

回帖

1万

金币

海燕硕士

积分
251493

万时之王老会员精华勋章勤奋勋章交易勋章光影行者

发表于 2026-3-1 05:37 | 显示全部楼层
蔬菜沙拉 发表于 2026-2-28 20:36: ?  W: ?$ j8 A. }
走势飘忽确实难搞,稳着来才能细水长流,下次别急着冲

/ x- _7 U- r2 I6 Q希望是可以能够保持住这样的好运气吧
回复 支持 反对

使用道具 举报

1666

主题

8万

回帖

1万

金币

海燕硕士

积分
251493

万时之王老会员精华勋章勤奋勋章交易勋章光影行者

发表于 2026-3-1 05:37 | 显示全部楼层
一路前行 发表于 2026-2-28 23:27
; N0 C% g% E8 y8 h0 W4 d如此丰厚的回报令人赞叹,这是楼主的实力

* x) n/ a+ y, d) u楼主确实是非常有实力的玩家了呢。
回复 支持 反对

使用道具 举报

1666

主题

8万

回帖

1万

金币

海燕硕士

积分
251493

万时之王老会员精华勋章勤奋勋章交易勋章光影行者

发表于 2026-3-1 05:37 | 显示全部楼层
一路前行 发表于 2026-2-28 23:28
. D2 M) c% Z0 \/ V能长期保持盈利状态就实属难得

* ]1 t6 ?/ E/ k6 z; s+ R0 Y/ r' B这个确实是非常难得的事情了呢。
回复 支持 反对

使用道具 举报

您需要登录后才可以回帖 登录 | 立即注册

本版积分规则

广告合作|福利汇|论坛简介|钱包教程|手机版|小黑屋|Archiver|海燕论坛

快速回复 返回顶部 返回列表