找回密码
 立即注册
澳门威尼斯人
U8
U18
海燕招商
A
蓝盾
e世博
islot.
申博亚洲
澳门银河
B
开云
腾博会
德信
C级广告商
吉祥坊
华体会
查看: 117872|回复: 73

[彩票] 【实战有奖】今天在申博7V玩幸运飞艇是亏了3块钱

[复制链接]

1214

主题

3万

回帖

509

金币

铂金用户

积分
93117

老会员交易勋章光影行者

发表于 2025-5-25 15:45 | 显示全部楼层 |阅读模式

马上注册,结交更多好友,享用更多功能,让你轻松玩转社区。

您需要 登录 才可以下载或查看,没有账号?立即注册

×
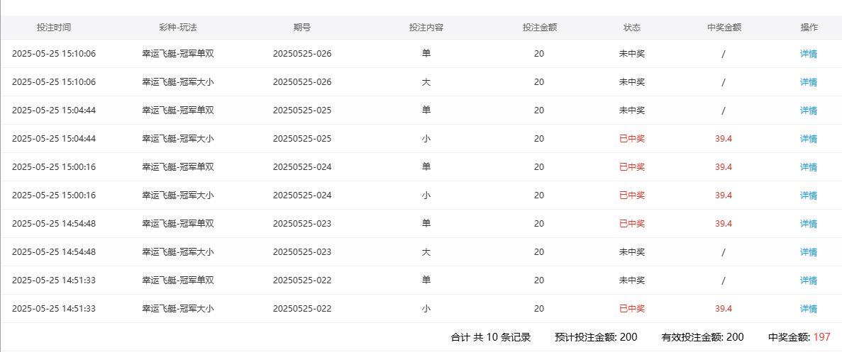
      今天又到了申博7V去玩了彩票了啊。也是一个比较好的结果了。打了200的流水,最后是亏了3块钱,还是比较满意的啊。
, n: @. G1 P/ _7 v$ X
! t0 u# y$ k. r4 f) f       今天呢,也是玩了这个幸运飞艇的啊,也是买了冠军的位置了啊。今天用了一个老的策略,但是在小地方做了更改。原来我用的是冠亚军位置开奖结果来预估下期。今天我观察了一下,用第十名来估计要更好一点。2 g! ~8 u8 X! C5 m. `* d
        第一期,我根据2这个数字,判断下期要买小和单,每个20元。结果不错,出了2.这个是小双,我是一红一黑的,也是没什么损失了。嗯,第一局就是打和了啊。
" D) F1 r& u% S; M' J& w       第二期,我根据数字8,判断下期要买大和单,每个下注20元。嗯,结果也是不错,出了5.这个是小单。我是一红1黑了。也是打和了。这样第二局也是没有输的啊。
4 W, H7 d; C0 u  g# l5 B, l7 U       第3期,我根据数字2,判断下期要买小和单,每个也是下注了20元了。结果开出来,是3,刚好是小单了。于是我就2红了啊。也是就赢了40大洋的啊。也是非常的满意了啊。哈哈,继续,继续。" D  K$ g! k, L/ W" Z1 B$ l8 x0 q+ e
      第4期呢,我根据数字2,判断下期要买小和单,于是继续下注每个20元。结果出了,是2,2是小双。所以我的下注是一红一黑了啊。这期是打 和了。总体上还是赢了40的啊。7 |% A7 D4 e! T6 f
      第5期呢,我根据数字6,买了大和单,各20元。结果这期不顺利,出了2,2是小双,和我买的刚好相反,所以是2黑了。这样本期我就输了40出去了。这样总体上我就又输了回去了。没有盈利了。而且还要加上抽水,我就输了3块钱了啊。- ~8 N4 i4 }/ [+ r- k
       不过,怎么说呢,就用这个方法,不用怎么动脑,就完成了200的流水,只是亏损一点水钱而已。我感觉还是比较满意的啊。. C- n/ k" R: @! F
1.JPG 2.JPG 3.JPG " Q5 K) s- Q9 P" f
回复

使用道具 举报

1

主题

4994

回帖

4198

金币

金牌会员

积分
23389

老会员

发表于 2025-5-25 15:50 | 显示全部楼层
楼主这3元也不算亏就是在抽水上,输赢全看运气了
回复 支持 反对

使用道具 举报

3

主题

2657

回帖

1191

金币

铜牌用户

积分
8564

老会员

发表于 2025-5-25 16:18 | 显示全部楼层
亏了三块钱不算啥,能打到200流水,还是挺厉害的!下次再试试新策略,保持耐心,总会有好结果的。
回复 支持 反对

使用道具 举报

822

主题

1万

回帖

4564

金币

千足金牌会员

积分
40517

老会员交易勋章光影行者

发表于 2025-5-25 16:27 | 显示全部楼层
如果总是在输钱,就不要玩了,希望以后都能有个好的结果了。
回复 支持 反对

使用道具 举报

625

主题

2万

回帖

3085

金币

铂金用户

积分
72619

老会员

发表于 2025-5-25 17:48 | 显示全部楼层
百万富豪 发表于 2025-5-25 16:27
9 n0 C/ V1 G9 P% l- s  M如果总是在输钱,就不要玩了,希望以后都能有个好的结果了。

) h1 q+ v$ B9 P$ F: e; k, d0 s. e不用在玩的太多了, 不然会有一个很大的问题出现了都啊
回复 支持 反对

使用道具 举报

625

主题

2万

回帖

3085

金币

铂金用户

积分
72619

老会员

发表于 2025-5-25 17:48 | 显示全部楼层
面对这个结果,我们的心态也是会变得很不舒服了都啊
回复 支持 反对

使用道具 举报

816

主题

3336

回帖

1227

金币

版主

积分
12715

老会员版主勋章

发表于 2025-5-25 20:55 | 显示全部楼层
不是我说你,这几块钱你只能是当娱乐,如果想要有点成就,光这样不够
回复 支持 反对

使用道具 举报

31

主题

6773

回帖

697

金币

金牌会员

积分
20794

老会员光影行者

发表于 2025-5-25 22:35 | 显示全部楼层
稳稳妥妥的下注真是不错的,下注金额是在自己的承受范围内,是完全有状态和信心的决斗
回复 支持 反对

使用道具 举报

1577

主题

8万

回帖

2万

金币

海燕硕士

积分
258035

万时之王老会员精华勋章勤奋勋章交易勋章光影行者

发表于 2025-5-26 06:06 | 显示全部楼层
这个小亏损一点水钱是没有什么影响的,相信楼主后面是可以能够赢回来的
回复 支持 反对

使用道具 举报

1577

主题

8万

回帖

2万

金币

海燕硕士

积分
258035

万时之王老会员精华勋章勤奋勋章交易勋章光影行者

发表于 2025-5-26 06:07 | 显示全部楼层
laowanba 发表于 2025-5-25 17:48/ X. ^! \1 U" n. ?/ U2 I3 w% A' R; U
面对这个结果,我们的心态也是会变得很不舒服了都啊
/ l" ~9 G. y( h! O/ y
这个也是会有一定的影响的,毕竟我们都是不喜欢输钱的
回复 支持 反对

使用道具 举报

1577

主题

8万

回帖

2万

金币

海燕硕士

积分
258035

万时之王老会员精华勋章勤奋勋章交易勋章光影行者

发表于 2025-5-26 06:07 | 显示全部楼层
海燕体育 发表于 2025-5-25 20:55
  w/ s6 u& }4 i9 H2 L" k1 U: P不是我说你,这几块钱你只能是当娱乐,如果想要有点成就,光这样不够

+ ?% Z& J: S% u1 m5 K这个也是可以娱乐一下的,希望后面是可以能够赢更多的钱
回复 支持 反对

使用道具 举报

1577

主题

8万

回帖

2万

金币

海燕硕士

积分
258035

万时之王老会员精华勋章勤奋勋章交易勋章光影行者

发表于 2025-5-26 06:07 | 显示全部楼层
决战夕阳 发表于 2025-5-25 22:35. e0 `# v  q& Z& y; u# w5 F0 U
稳稳妥妥的下注真是不错的,下注金额是在自己的承受范围内,是完全有状态和信心的决斗 ...

' y5 N% {' ~  f这个也是要提高一下胜率的,这样就可以轻轻松松战胜庄家了
回复 支持 反对

使用道具 举报

2448

主题

8万

回帖

4643

金币

海燕硕士

积分
223640

老会员超级精华精华勋章美女勋章勤奋勋章交易勋章万时之王

发表于 2025-5-26 06:24 | 显示全部楼层
亏损了几块钱也是没有办法的事这个运气不好就不要玩为好的呀
回复 支持 反对

使用道具 举报

2448

主题

8万

回帖

4643

金币

海燕硕士

积分
223640

老会员超级精华精华勋章美女勋章勤奋勋章交易勋章万时之王

发表于 2025-5-26 06:24 | 显示全部楼层
cwx1994 发表于 2025-5-26 06:07' f. ]8 R! G8 M" r0 b
这个也是要提高一下胜率的,这样就可以轻轻松松战胜庄家了
8 {+ `* }! n1 `" o: C  Z8 J5 c
心率这个东西不是自己可以左右的,你想提高就能提高的
回复 支持 反对

使用道具 举报

2448

主题

8万

回帖

4643

金币

海燕硕士

积分
223640

老会员超级精华精华勋章美女勋章勤奋勋章交易勋章万时之王

发表于 2025-5-26 06:24 | 显示全部楼层
cwx1994 发表于 2025-5-26 06:07
7 T3 v  J2 O( I4 F" F6 @这个也是会有一定的影响的,毕竟我们都是不喜欢输钱的
' l1 t0 D" s* q5 Z; a2 i
我们确实是不喜欢输钱的结果,但是也没有办法的事,只能离开
回复 支持 反对

使用道具 举报

您需要登录后才可以回帖 登录 | 立即注册

本版积分规则

广告合作|福利汇|论坛简介|钱包教程|手机版|小黑屋|Archiver|海燕论坛

快速回复 返回顶部 返回列表