找回密码
 立即注册
澳门威尼斯人
U8
U18
海燕招商
A
蓝盾
e世博
islot.
申博亚洲
澳门银河
B
开云
腾博会
德信
C级广告商
吉祥坊
华体会
查看: 105997|回复: 47

[彩票] 【实战有奖】今天在申博7v娱乐城 玩彩票赢了18了

[复制链接]

1214

主题

3万

回帖

510

金币

铂金用户

积分
93119

老会员交易勋章光影行者

发表于 2025-5-14 21:30 | 显示全部楼层 |阅读模式

马上注册,结交更多好友,享用更多功能,让你轻松玩转社区。

您需要 登录 才可以下载或查看,没有账号?立即注册

×
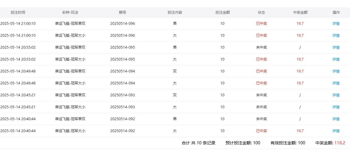
     今天到了申博7V公司玩了彩票了啊。这次选择了幸运飞艇了啊。结果还是不错的啊。打了5期下来,赢了18大洋的啊。也是比较令人开心的啊。& B) M- L' t8 P* z( J: W9 |
/ w7 G$ R6 X5 Z8 Q7 w' @
    今天去玩,还是用了上次的办法了。根据了前2位合数的单双大小来下注了啊。结果还是比较的幸运的了。+ m0 x0 P2 d5 b/ b5 v7 a% d
     第一期,我根据9和8来下注大和单了啊。结果呢,还是可以的一个结果了。是出了6了啊。6是大和双的啊。所以呢,我是中了一个,黑了一个了。也是打平了啊。没有什么关系的啊。
" L7 f- ~) s2 w& I# ^    第2期,我根据6和4来下注大和双了啊。结果呢,有那么不开心的啊。竟然是都错了啊。是开了5的啊。是小和单了啊。这样我就是遇到了2黑了啊。所以输了20了啊。; {) I( x3 f+ H* v$ V
    第3期,我是以为要出现2红的啊。我根据5,7来下注大和双的啊。结果出了10这个数字,果然是大和双了啊。这样就是得了2红了啊。果然不错,和我预期的是刚好的啊。也是扳本了啊。蛮开心的啊。* l) Q9 N3 Q. F! i3 T4 Y
   第4期呢,我根据10和1来下注了大和单了。结果还是比较好的,出了6这个数字,这是大和双了啊。所以我是红了1方面,,输了1方面,结果还是打平了的啊。
5 {& {: I- q# l+ |8 t& u9 ^2 Y   第5期,我是根据了6和7去下注了大和单了啊。这最后一把还是比较的关键了啊。最后也是比较的幸运的啊。出了9这个数字,正是大和单了啊。实在是美好的一个结果,我就靠最后这一把赢了18大洋了啊。也是挺开心的啊。
. B7 D5 ?8 i5 U# E& j    今天我就是按照自己的计划平注靠胜率取得了胜利,也是一个比较好的结果,是令人满意的啊。
0 I, [" i% u" E1 B, a  b 111.JPG 222.JPG . K2 Y* A( T) ~
回复

使用道具 举报

头像被屏蔽

0

主题

651

回帖

76

金币

禁止发言

积分
2115

老会员

发表于 2025-5-14 21:41 | 显示全部楼层
提示: 作者被禁止或删除 内容自动屏蔽
回复 支持 反对

使用道具 举报

2618

主题

5万

回帖

6740

金币

钻石用户

积分
177380

万时之王老会员精华勋章勤奋勋章交易勋章

发表于 2025-5-14 22:04 来自手机 | 显示全部楼层
楼主今天运气还是可以的,玩彩票收米了18块钱,只要有赢钱就好
回复 支持 反对

使用道具 举报

2618

主题

5万

回帖

6740

金币

钻石用户

积分
177380

万时之王老会员精华勋章勤奋勋章交易勋章

发表于 2025-5-14 22:07 来自手机 | 显示全部楼层
一诺 发表于 2025-5-14 21:411 E9 U4 Z2 A9 O# l
还好是坚持下来了呢,不然后面的惊喜也是遇不到了吖,希望下次有更好的成绩哟 ...

6 a: U5 `" j' t1 y6 v  k运气不错的,有了盈利见好就收了,不贪心很好的心态
回复 支持 反对

使用道具 举报

67

主题

8909

回帖

1037

金币

金牌会员

积分
24214

老会员光影行者

发表于 2025-5-14 22:32 | 显示全部楼层
电子老虎机需要自己去把握的,稳定注码去下,肯定可以的娱乐
回复 支持 反对

使用道具 举报

67

主题

8909

回帖

1037

金币

金牌会员

积分
24214

老会员光影行者

发表于 2025-5-14 22:32 | 显示全部楼层
浴火凤凰 发表于 2025-5-14 22:076 ?( \) _* f, Q- S. r
运气不错的,有了盈利见好就收了,不贪心很好的心态

2 ^' A6 ]. q* O1 u$ h盈利成功说明运气非常好,是可以继续换台战斗起来
回复 支持 反对

使用道具 举报

278

主题

1万

回帖

4452

金币

金牌会员

积分
34776

老会员光影行者

发表于 2025-5-15 05:19 | 显示全部楼层
只要是能够赢钱,还是很不错的,希望以后都能够有个好的结果了。
回复 支持 反对

使用道具 举报

1581

主题

8万

回帖

2万

金币

海燕硕士

积分
259317

万时之王老会员精华勋章勤奋勋章交易勋章光影行者

发表于 2025-5-15 06:06 | 显示全部楼层
可以赢钱了还是会非常高兴的,要多多祝贺一下楼主的呢
回复 支持 反对

使用道具 举报

1581

主题

8万

回帖

2万

金币

海燕硕士

积分
259317

万时之王老会员精华勋章勤奋勋章交易勋章光影行者

发表于 2025-5-15 06:07 | 显示全部楼层
sc豆豆龙 发表于 2025-5-14 22:32
* p) A$ B6 o. n/ M盈利成功说明运气非常好,是可以继续换台战斗起来
# z9 _2 K! f  q  w# H8 M
只要有个好运气是可以能够成功盈利的,要祝贺一下楼主的呢
回复 支持 反对

使用道具 举报

1581

主题

8万

回帖

2万

金币

海燕硕士

积分
259317

万时之王老会员精华勋章勤奋勋章交易勋章光影行者

发表于 2025-5-15 06:07 | 显示全部楼层
没牙的兔子 发表于 2025-5-15 05:198 m6 s- Q  `% s) {# w
只要是能够赢钱,还是很不错的,希望以后都能够有个好的结果了。

7 Q* ^1 v  v* y3 Q: v: D* X; r; G$ e希望是可以保持住每天都这样的赚钱吧,毕竟我们都是喜欢战胜庄家的
回复 支持 反对

使用道具 举报

1852

主题

6万

回帖

2684

金币

钻石用户

积分
176706

万时之王老会员勤奋勋章交易勋章

发表于 2025-5-15 06:42 来自手机 | 显示全部楼层
浴火凤凰 发表于 2025-5-14 22:04
: C2 z; d. `4 S1 v; ^: `楼主今天运气还是可以的,玩彩票收米了18块钱,只要有赢钱就好

' u9 Q$ L$ H% ]( f( v3 r; D7 t3 Q* |这样的运气是真的非常不错的了,能够有盈利,那就是好结果呀
回复 支持 反对

使用道具 举报

1852

主题

6万

回帖

2684

金币

钻石用户

积分
176706

万时之王老会员勤奋勋章交易勋章

发表于 2025-5-15 06:42 来自手机 | 显示全部楼层
没牙的兔子 发表于 2025-5-15 05:195 F# h( t6 o% S. Z9 H7 x
只要是能够赢钱,还是很不错的,希望以后都能够有个好的结果了。

; V3 G% w$ R( k1 [这个能够赢钱就是当然不错的,那是以后什么结果不好说
回复 支持 反对

使用道具 举报

1852

主题

6万

回帖

2684

金币

钻石用户

积分
176706

万时之王老会员勤奋勋章交易勋章

发表于 2025-5-15 06:42 来自手机 | 显示全部楼层
这样的小盈利也是比较好的了,如果能够赢钱,就是比输钱好呀
回复 支持 反对

使用道具 举报

2452

主题

8万

回帖

5106

金币

海燕硕士

积分
224917

老会员超级精华精华勋章美女勋章勤奋勋章交易勋章万时之王

发表于 2025-5-15 07:37 | 显示全部楼层
能够赚个十几万也是非常不错的玩游戏的心情也是跟着变好了吧
回复 支持 反对

使用道具 举报

2452

主题

8万

回帖

5106

金币

海燕硕士

积分
224917

老会员超级精华精华勋章美女勋章勤奋勋章交易勋章万时之王

发表于 2025-5-15 07:37 | 显示全部楼层
yb454553 发表于 2025-5-15 06:42
+ F/ {* K& _, ]4 z9 \' }这样的小盈利也是比较好的了,如果能够赢钱,就是比输钱好呀
4 A* B; L# i( w% \7 M8 [9 \
少赚一点钱也是自己的运气好,不然也不会有这么多的钱,对不对?
回复 支持 反对

使用道具 举报

您需要登录后才可以回帖 登录 | 立即注册

本版积分规则

广告合作|福利汇|论坛简介|钱包教程|手机版|小黑屋|Archiver|海燕论坛

快速回复 返回顶部 返回列表