找回密码
 立即注册
澳门威尼斯人
U8
U18
海燕招商
A
蓝盾
e世博
islot.
申博亚洲
澳门银河
B
开云
腾博会
德信
C级广告商
吉祥坊
华体会
查看: 128469|回复: 27

[百科] 西汉姆联足球俱乐部

[复制链接]

1万

主题

3322

回帖

8388

金币

版主

积分
44186

美女勋章优秀版主老会员版主勋章超级精华

发表于 2024-12-14 08:33 | 显示全部楼层 |阅读模式

马上注册,结交更多好友,享用更多功能,让你轻松玩转社区。

您需要 登录 才可以下载或查看,没有账号?立即注册

×
西汉姆联足球俱乐部(West Ham United F.C.)是一家位于外伦敦东部纽汉区的足球俱乐部,成立于1895年6月29日,主场为伦敦奥林匹克体育场,现参加英格兰足球超级联赛。球队曾获得过3次足总杯冠军,1次欧洲优胜者杯冠军和1次欧洲足联欧洲协会联赛冠军。
4 u1 z5 d2 E( T
+ }% \# Y% l3 m8 A( P: v! \ 03.png
6 ]3 }( G6 C$ P' A/ t
) p! ^$ i) v9 O1 |& u* v  A% w, p% T/ F* ]
西汉姆联在20世纪70至90年代初沉浮于当时的顶级联赛及次级联赛之间,被称为“升降机”,1993年西汉姆联升上英超后角逐了十个赛季,但在2002/03赛季虽取得42分但排名第十八不幸降入英冠,一同降级的还有同为英超创始球队的西布罗姆维奇。西汉姆联在英冠角逐了两个赛季,2005年通过升级附加赛重返英超,并在返回英超首个赛季便取得足总杯亚军。2011年,西汉姆联再次降入英冠,但在次年再次通过升级附加赛重返英超。西汉姆联被英格兰媒体誉为“足球学院”(The Academy of Football),球队为各级国家队输送了多名富有才华的青年球员,是名副其实的“造星工厂”,这一称誉也被俱乐部官方接受和承袭。西汉姆联拥有全英国首屈一指的青训体系,曾培养出诸如博比·摩尔等世界级球星。根据《福布斯》发布的2022最有价值足球俱乐部排行榜,西汉姆联以9亿美元排名全球第18名。% p! o/ B* T, p* n* W

6 Y  {" X" V0 X' c
, a) m1 `& w" t8 v! V1 M& L 02.png 8 [, H6 ^; _" r6 G

/ R" o! c0 Y4 V1 W0 I* O
& M) v9 {  T' k: L3 i球队历史:
2 A0 G! F7 E% U, g4 u3 V7 g2 `6 ]9 {, P
初期. ~2 t9 G2 t9 a# G6 W
1895年,泰晤士钢铁厂的工头和当地联赛裁判戴夫·泰勒(Dave Taylor)与商人阿诺德·希尔斯(Arnold Hills)共同成立了泰晤士钢铁厂足球俱乐部(Thames Ironworks FC),这则消息于当年6月首先刊登在了《泰晤士钢铁厂公报》上。
' i1 M( R4 X2 ~& f2 C
" P( A7 K3 @. d1 {, T俱乐部成立之初,球员主要来自社会底层的工薪阶层,作为业余球员参加比赛。船舶消防员托马斯·弗里曼、业务员沃尔特·帕克斯、锅炉制造修理工汤姆·蒙蒂、沃尔特·特兰特和詹姆斯·林赛以及威廉·查普曼、乔治·萨奇、威廉·张伯伦加上当时还是学徒的铆工查理·达夫组成了俱乐部最初的阵容。
$ |& L! n: M0 J# j' p1895年,泰晤士钢铁厂在当地举行的西汉姆慈善杯中获得冠军。1897年,球队获得了伦敦联赛的冠军。1898年球队正式开始了职业化转型,并加入了当时的南方乙级联赛,随后就以优异成绩升入了甲级联赛。尽管在1899年仅仅位列积分榜倒数第二,但俱乐部已经逐渐发展成为一家成熟的富有竞争力的球队。1900年4月在升降级附加赛中,球队5-1大胜同城对手富勒姆,保住甲级联赛的席位。+ z7 m7 r2 O# F! `1 k8 W7 Y# c
* `7 x. B0 O  y! o9 ], h2 n
球队最初采纳希尔斯的建议采用牛津大学的深蓝色作为球队队服的主色调。1897-1899年间,球队采用天蓝色上衣、白色短裤的队服样式。1899年,泰晤士钢铁厂正式采用深红色上衣,蓝色短袖的队服样式,并一直沿用。
+ M2 Y- [8 i" `" L9 i6 j% I5 Q" e( W8 ]3 K7 T+ P0 Q& j7 C
1900年6月,在对俱乐部的经营和财务状况进行讨论后,泰晤士钢铁厂俱乐部正式宣布解散。1900年7月5日,俱乐部以西汉姆联(West Ham United)的形式重建。首任球队的主教练和助理教练是席德·金(Syd King)和查理·佩恩特(Charlie Paynter)。由于俱乐部与工人阶级的紧密联系(在球队的队徽上得到了充分体现),所以被球迷和媒体称为“铁锤帮”和“铁人”。" S( H2 p+ t1 _4 l0 D' [6 z: P

9 |: L! _! x, O! _8 i重生
9 s% X; H. n+ E& b重组后的西汉姆联俱乐部依然在纽汉姆地区由希尔斯赞助的普莱斯托的纪念球场(Memorial Ground)进行比赛。在与钢铁厂彻底断绝联系之后,俱乐部搬迁到了厄普顿公园的一块球场上。在没有固定主场的日子里,俱乐部漂泊无依,辗转当地数家俱乐部的主场。1904年,俱乐部终于落脚厄普顿公园球场(正式名称是博林球场 Boleyn Ground)。1 ]8 p( k* R6 \/ h' |3 `

% I# e4 p! g+ W+ x; m球队在新主场的揭幕战中即遭遇宿敌米尔沃尔足球俱乐部(来源于一家与泰晤士钢铁厂有竞争关系的钢铁厂球队)。10000名观众到场观看比赛。最终西汉姆联以3-0力克对手。1904年9月2日的《每日邮报》对这场比赛予以了报道。
9 S; O+ z6 c6 x7 g
% W. o0 I0 p. d4 I6 z' {6 }1901年,西汉姆联曾参加当时的西部联赛。球队同时还坚持参与南部甲级联赛的竞逐。1907年,西汉姆联获得西部甲级B组联赛冠军,并在总决赛中1-0击败A组冠军富勒姆,最终获得当年的西部联赛冠军。8 N; [! l+ c3 I
! ~6 a' D- x4 W
1919年,在金的领导下,西汉姆联加入了当时的英乙联赛,在联赛揭幕战中1-1战平林肯城足球俱乐部。1923年,西汉姆联首度杀入英甲联赛,并参加了第一次在旧温布利球场举行英格兰足总杯决赛。由于到场球迷人数众多(共计达到20万人)。西汉姆联最终0-2不敌博尔顿足球俱乐部,屈居亚军。
. E$ D: Q6 O! i* z4 _0 s: S
, h( P3 J+ e2 _/ L1932年,席德·金在为俱乐部服务整整32年后因球队降级而被俱乐部解职,助理教练查理·佩恩特走马上任。后者从1897年开始就为俱乐部效力;1950年,当他离开俱乐部时,他已经带领俱乐部征战了整整480场比赛。
* D5 Y( ~" X* ~% F6 g
" z" P! C# l* s1 t0 b* ^6 X8 |. {之后的30年,俱乐部大部分时间都在英乙联赛徘徊。前球员泰德·芬顿(Ted Fenton)取代佩恩特成为球队主帅。1958年,芬顿率队重返英甲联赛,同时芬顿也着力于为西汉姆联的未来培养新生力量。
* C3 m8 a. q$ l  F. z
0 @! |) U0 c- C: p" o. L9 \辉煌' j$ L  Z0 g/ }9 _; N
1961年,罗恩·格林伍德(Ron Greenwood)接过了球队的帅印。随后他率领球队接连捧得了1964年的足总杯和1965年的欧洲优胜者杯。 [1]西汉姆联在英格兰足总杯决赛中击败普雷斯顿足球俱乐部,捧得俱乐部进入职业联赛以来的第一项荣誉。
: j- X( H8 \4 c- N( t, M
" \  h: D' t! h9 `3 \2 k1966年英格兰世界杯,西汉姆联球员成为了英格兰足球队的英雄。场上队长博比·穆尔、决赛中进球的马丁·彼得斯以及世界杯历史上唯一一个在决赛中上演“帽子戏法”的杰夫·赫斯特均来自西汉姆联。
+ P, b2 f5 t! h, F
1 j1 l3 O( U5 I, r/ z+ h) U在巴金路(Barking Road)上依然树立着一尊名为“冠军”的塑像,描述了西汉姆联出身的三名球员帮助英格兰国家队获得世界杯冠军的场景。除了穆尔、彼得斯和赫斯特外,埃弗顿足球俱乐部的雷·威尔逊(Ray Wilson)也出现在塑像中。1 |0 d' A4 D1 o1 P) ]7 x* I

3 I) j2 Y3 e2 U9 ~% `1 s9 A, v  G1974/75赛季,西汉姆联在赛季初表现糟糕。格林伍德在没有告知俱乐部高层的情况下出任球队的总经理,而他的助理教练约翰·莱尔(John Lyall)则取代他成为球队主帅。这次换帅立竿见影。在莱尔带队的前四场比赛中,西汉姆联打进共计20球,并获得了1975年的英格兰足总杯冠军。在决赛中他们2-0击败富勒姆,从而成为英格兰足球历史上最后一支以全英格兰球员为班底的英格兰足总杯冠军。 5 z9 ]% Q# n  c* t5 V4 K

, O: b" p: J) f0 ~1976年,莱尔再度率队杀入了欧洲优胜者杯决赛。但西汉姆联在决赛中2-4不敌比利时的安德莱赫特足球俱乐部。1977年,唐·里维辞去英格兰国家队帅位后,就任俱乐部总经理不到三年的格林伍德即被任命为英格兰足球队主教练。/ e8 K( K% w; M% i2 Q* U

) i% E$ r9 \+ Q! P5 c2 r7 D, h. b. o; v沉浮
& h. [. ?' l- O! C3 t. g4 Q1978年,西汉姆联从英甲联赛中降级。但莱尔保住了自己帅位,随后他率队在1980年的英格兰足总杯决赛中爆冷击败阿森纳,创造了英格兰足总杯历史上英乙球队夺冠的奇迹。从此之后,再也没有一支英格兰第二级别及以下球队能过夺得英格兰足总杯冠军。1981年,西汉姆联重返英甲。随后的四年时间,西汉姆联稳居英甲积分榜前十。而1985/86赛季,西汉姆联创造俱乐部历史上的联赛最佳战绩——第三名。但不幸的是1989年西汉姆联再度降级,莱尔也结束了自己在西汉姆联漫长的执教生涯。7 z% f& [2 h( @  ]6 G, J, D6 v
7 l( H& h9 [8 A& j: ]6 n
接替莱尔的是卢·麦卡里(Lou Macari)。由于在执教斯温顿镇期间涉嫌非法赌博,为洗清罪名,执教不到一年时间的马卡里选择了辞职。前球员比利·邦兹(Billy Bonds)正式就任球队的主教练。1990/91赛季,邦兹首次带队就帮助球队杀回了英甲联赛。不过次年他们又再度降回英乙。同年,由于英超的诞生,英格兰职业足球联赛体系进行全面调整,英乙联赛也更名为英甲联赛。1992/93赛季,西汉姆联获得英甲联赛亚军,杀回了1993/94赛季的英超。9 O1 n) @& X6 @; @5 p' S

6 Q" k8 q" F) v1994年8月,哈里·雷德克纳普(Harry Redknapp)取代了邦兹的帅位。1998/99赛季,他率队获得英超第五,距离欧洲联盟杯资格仅一步之遥。最终凭借拿下国际托托杯冠军,西汉姆联晋级欧洲联盟杯正赛。尽管带队期间,球队成绩稳定,但由于与俱乐部管理层意见不一,2000/01赛季开始前,雷德克纳普宣布辞职,接替他的是年轻的格伦·罗德尔(Glen Roeder),后者刚刚从青年队教练的位置上上调。
1 T8 a5 q5 N( _+ `: f. S, _2 {6 a$ T
罗德尔上任首个赛季,西汉姆联取得英超第七。但球队却在其中遭遇一系列惨败,比如1-7负于布莱克本、0-5不敌埃弗顿、1-5负于切尔西。随后的一个赛季西汉姆联开局不佳,并最终不幸降级。 [1]英超采用38轮赛制以来,西汉姆联的42个英超积分是所有降级球队中最高的。罗德尔在赛季由于需要接受脑部肿瘤的治疗而缺席了部分比赛。2003年8月24日,罗德尔与俱乐部解除了合同,此时英冠联赛已经进行到了第三轮。
2 P4 S0 i: R; f9 H* i$ w
1 ~, e1 L  m% L9 a之前在罗德尔缺席期间代理主教练职务的特雷沃·布鲁金(Trevor Brooking)临时接管球队。2003年10月,阿兰·帕杜(Alan Pardew)成为球队的新任主教练。 西汉姆联一度逼近联赛领头羊雷丁足球俱乐部,但最终还是不得不参加升级附加赛。附加赛中西汉姆联不敌水晶宫足球俱乐部不得不留在了英冠。2004年再次杀入升级附加赛决赛,球队1-0战胜普雷斯顿足球俱乐部,终于得以重返英超。
2 G( O6 r7 C' u; b
: ?- j& E- B7 U  L  w6 f2 ]0 X7 D5 L重返
# b% y9 B. X  R8 A% e重返英超的首个赛季,西汉姆联就收获第九名的佳绩。2005/06赛季,西汉姆联达到了球队新的顶峰,他们杀入了当年的英格兰足总杯决赛,但最终却惜败给利物浦。尽管仅仅获得亚军,但由于利物浦已经获得欧洲冠军联赛的资格,因而西汉姆联得以参加2006/07赛季的欧洲联盟杯。
4 T2 S3 M3 m. H5 M# p4 G! n& U  ^; R5 D' ^
2006年8月,西汉姆联完成了当时曾轰动一时的转会。俱乐部签下了当时风头正劲、已经引起多家欧洲豪门觊觎的卡洛斯·特维斯和哈维尔·马斯切拉诺。 2006年11月,埃格特·马格努松(Eggert Magnusson)领导的一家冰岛财团收购了俱乐部;帕杜随即因球队战绩不佳而被解职,取代他的是前查尔顿竞技主教练阿兰·科比什利。
( |2 h7 W+ ~. M5 {! I4 d' p
5 q9 R( _" ?: c& }/ Z9 n2 L特维斯和马斯切拉诺的转会随即遭到了英足总的调查。这桩转会被指并没有支付相应的转会费。2007年4月,西汉姆联被判处缴纳550万英镑的罚款,但逃过了被扣除积分的处罚。这也引发了当时的巨大争议,一旦扣除积分,西汉姆联就极有可能降入英冠。维甘竞技主席戴夫·惠兰联络了当时面临降级危险的富勒姆和谢菲尔德联的负责人威胁将动用司法手段。
; x; d  h5 m/ X8 s5 J2 [8 F9 _6 i  g* ^( I, J/ W9 ]
2006/07赛季,在最后的九场比赛中,西汉姆联取得了七场比赛的胜利,其中就包括1-0险胜阿森纳。英超最后一轮凭借特维斯的进球,西汉姆联1-0击败已经加冕冠军的曼联,以英超第十五名的成绩成功保级。/ X, `8 T# U, z0 }; Y

" [7 M- U/ \; h" ]) X  ]0 {0 t2007/08赛季,尽管西汉姆联队内伤兵满营,但依然将球队的成绩稳定在英超上游。新近加盟球队的的克莱格·贝拉米和基尔伦·代尔都长期因伤缺阵。英超最后一轮,西汉姆联2-2战平阿斯顿维拉,以3分优势力压托特纳姆热刺,位居英超第十。球队的成绩相比2006/07赛季得到显著提升,而且赛季中从未陷入保级泥潭。* g2 R( [( p% Y5 Z% L( n( u" U% l7 ^" w

4 P9 T, n9 v+ v7 W. ?, |2008年9月3日,由于球队董事会相继把主力后卫安顿·费迪南德和乔治·麦卡特尼出售给桑德兰,主教练科比什利最终选择辞职。前切尔西传奇射手詹弗兰科·佐拉入主球队。2008年9月11日,佐拉正式走马上任,成为俱乐部历史上第一位非英国籍的主教练。2008/09赛季结束,西汉姆联排名第九,比2007/08赛季又提高了一个名次。) n) B" z2 p5 G1 I8 H' ^

% n% [+ A6 I# e2009/10赛季,西汉姆联在揭幕战中2-0战胜狼队,马克·诺布尔和新任队长马修·厄普森双双进球。西汉姆联在赛季伊始即陷入困境,球队始终在为保级而战。在英超仅剩下两轮的情况下,西汉姆联3-2战胜维甘竞技,成功上岸保级,球队在38轮英超中拿下35分,比2002年降级时还要少7分。2010年5月11日,西汉姆联宣布与主教练詹弗兰科·佐拉解除合同。
; s6 w5 ~) Z+ r! f: {' o
: O% ]) v7 g' i7 I" d$ u4 E起伏8 d9 E0 v0 b. P( d# X
2010年6月3日,西汉姆联与阿夫拉姆·格兰特签订了为期四年的合同。西汉姆联在格兰特的率领下战绩没有丝毫起色,始终在降级区徘徊,格兰特的帅位也一度受到威胁。期间,西汉姆联在英格兰联赛杯中4-0战胜曼联成为球队该赛季的亮点之一。在两项国内杯赛中西汉姆联表现可圈可点。英格兰联赛杯半决赛,他们负于最后获得冠军的伯明翰城,英格兰足总杯四分之一决赛,球队1-2不敌最终的亚军斯托克城。
4 o+ _4 L0 r5 H! S7 B: K  n5 [+ s; l# N( r1 M
2011年5月15日,西汉姆联在客场惨遭维甘竞技翻盘,不幸降级。半场结束前,凭借登巴·巴的梅开二度,西汉姆联一度以2-0领先,但下半场风云突变,最终凭借查尔斯·恩佐比亚的进球,维甘竞技3-2逆转获胜。赛后,西汉姆联即解除了主教练格兰特的职务。2011年6月1日,萨姆·阿勒代斯出任球队主教练。 / i- s/ o( r  a* k* X

: w3 Z) O: D$ ^. S: I5 ~2010/11赛季,西汉姆位列英超最后一位降级,布莱克浦则是倒数第二降级。时隔一年,两队都有机会重返英超。2011/12赛季英冠升级附加赛决赛在温布利大球场上演,西汉姆联对决布莱克浦。结果,葡萄牙前锋里卡多-瓦斯特第87分钟攻入致胜球,西汉姆联2-1取胜,成功升入英超。
1 u( c8 A2 p; U6 Y& L2013年5月,西汉姆联主教练阿勒代斯与球队达成了一份两年的续约合同。9 \3 H# l0 o  g, a* C
% W7 ~% p$ e. ^2 ^) A  h+ u
2014年11月,西汉姆联队在英超联赛10月各项最佳奖项中成为最大赢家,凭借10月3战全胜的成绩,主教练阿勒代斯当选最佳教练,而当家前锋萨科在这3场比赛中贡献3粒进球1次助攻,以优异表现当选最佳球员。 但西汉姆联队在赛季后程乏力,仅在英超联赛排名中取得第十二名。
: d3 d8 M  @3 l, B4 k& w
: Q3 h9 P1 M/ U2015年6月,西汉姆联官方宣布克罗地亚主帅斯拉文·比利奇担任球队新一任主教练,这位颇具摇滚风格的主帅将替代阿勒代斯率领铁锤帮征战2015/16赛季英超联赛。
5 A4 ~5 |  g. v& }3 r6 ~2 B
" ^& N6 z$ _7 E( _1 V  [2017年10月26日,在2017/18赛季英格兰联赛杯第4轮热刺主场对阵西汉姆联的比赛,西汉姆联在最后时刻逆转成功3-2击败热刺,闯进2017-18赛季英格兰联赛杯的8强。 6 s" v. v/ c; t% w  Q, d, W
6 f" m9 j* h7 D  a! ~7 A5 ?9 @
2021年11月25日,2021/22赛季欧罗巴联赛第5轮,西汉姆联2-0战胜维也纳快速,提前确定以小组第一身份杀入16强。 同月,俱乐部新股东、捷克富翁丹尼尔·克雷钦斯基同意继续增资,全面收购俱乐部。3 t- G- z1 g0 T. N- ?4 W5 f
9 p$ l$ W3 m$ B6 p
2022年3月,欧罗巴联赛1/8决赛次回合,西汉姆联主场加时2-0战胜塞维利亚,队史首次晋级欧联8强。
- O1 ^( e) h; K7 Z& V- E' L/ G+ l$ a; E
2022年夏窗,西汉姆联豪掷1.4亿欧引进斯卡马卡、阿格尔德、科尔内、埃莫森、蒂洛·克雷尔、唐斯、阿雷奥拉,但三轮过后球队排名英超垫底。 欧洲足联欧洲协会联赛小组赛,西汉姆联6战全胜,成为欧协联自成立以来首支在小组赛阶段取得全胜战绩的球队。 ' s  _$ x' h5 Z, ]

6 M7 E5 a# ~: d4 W$ y+ F( e2023年1月,西汉姆联签下丹尼·英斯。 3月17日,欧协联1/8决赛次回合,西汉姆联主场4-0大胜十人AEK拉纳卡,总比分6-0晋级8强。 5月19日,欧协联半决赛次回合,西汉姆联客场1-0击败阿尔克马尔,总比分3-1晋级决赛。 6月8日,欧协联决赛,西汉姆联2-1击败佛罗伦萨赢得冠军。 这也是西汉姆时隔58年后再次夺得欧战冠军。
' ~  P6 P4 F- ?6 o
0 @0 e. R& l# K* ~  V* k2022-23赛季,西汉姆在英超共计仅取得11胜,位列第14位,是历届欧战冠军的最终联赛排名最低值;而在欧战方面,算上2场资格赛的胜利,西汉姆则共计在15场欧战取得14胜1平的佳绩。
$ ]7 M. ^' s& B% ]! f9 [9 h# ^* ]* s8 y' t& \+ A9 m( o4 u
2023年6月,兰奇尼合同到期离队。 7月,赖斯离队。8月,斯卡马卡、尼古拉·弗拉希奇离队,埃德松·阿尔瓦雷斯、沃德-普劳斯、马夫罗帕诺斯、库杜斯加盟球队。 10月,欧联杯小组赛第2轮,西汉姆联客场2-1战胜弗赖堡,成为首支在欧战中实现连续17场不败的英国球队(含预选赛)。 12月15日,欧联小组赛第6轮,西汉姆联主场2-0战胜弗赖堡,小组第一出线。12月21日,英格兰联赛杯1/4决赛,西汉姆联1-5被利物浦淘汰。 : r' m2 I2 M" ^- c1 `
" M3 F: a$ r1 h2 _% I) A4 l
2024年冬窗,西汉姆联放走蒂洛·科雷尔、本拉赫马、福尔纳尔斯;卡尔文·菲利普斯以租借的形式加盟。 2024年3月15日,欧联1/8决赛次回合,帕奎塔破门,鲍恩传射,克雷斯维尔破门,库杜斯梅开二度,帮助西汉姆联以5-0战胜弗赖堡,两回合总比分5-1晋级八强。 4月19日,欧联1/4决赛次回合,西汉姆联主场1-1战平勒沃库森,总比分1-3被淘汰 。5月,西汉姆联官方公告,大卫·莫耶斯将在2023/24赛季末合同到期时离开俱乐部;一线队助教麦金利、诺兰、海廷加和亨利·纽曼离队,球员招募主管罗伯·纽曼、一线队技术顾问阿兰·埃尔文、体能教练尼克·戴维斯和表现分析主管杰米·奥斯曼全部离队;洛佩特吉出任球队主教练 。6月,西汉姆联官宣,奥邦纳、约瑟夫·阿南、本·约翰逊、穆巴马合同到期自由身离队,免签福德林厄姆 。7月,外租迈克尔·福布斯,签下基尔曼,弗林·唐斯转会离队 。8月,西汉姆联签下克利森西奥·萨默维尔、尼克拉斯·菲尔克鲁格 、托迪博 、穆罕默杜·坎特 、亚伦·万-比萨卡 ;索莱尔租借加盟 ;乔治·厄锡、弗雷迪·波茨、普劳斯、阿格尔德、科尔内、祖马租借离队) Z  b4 o0 e) K2 J3 F$ |

" _! O6 T9 P: T/ a0 I2024-25赛季,西汉姆队史首次遭遇前三场联赛主场比赛皆落败 。英格兰联赛杯第三轮,西汉姆联1-5不敌利物浦 。英超第12轮 ,西汉姆联客场2-0击败纽卡斯尔联,时隔3个月再次在客场赢球 。英超第13轮比赛中,西汉姆联主场2-5不敌阿森纳,队史首次在英超比赛的上半场丢掉5个球
/ x( U/ f* l, W0 L9 }- K4 A3 o2 O8 M  P: C  Q5 I

  e0 o, Q2 `3 U. }* y5 @3 a球队阵容:
% @& W( i3 ~) F! f( u7 L- ?' d1 F, C
球队阵容.png 3 S* S8 s- ~8 I$ P

6 b' J0 w, l7 _管理团队:3 ]3 I* W$ Y- ?" ?& V4 m

" |- j; i7 f' t, D. L' }. i' h 管理团队.png
) x2 i9 f% T, W- _- p# n% G
* Z0 b, P+ n- F/ B; I- r球队主场:
& \5 o: r  B0 r
+ f: C& t+ c- h 球队主场.png
7 z4 Y9 R% K. h2 O8 n
+ }5 t8 a( \) l2 Z8 l2 f; T% l1 L数据统计:
; \3 o# J6 R9 n# V- u& `  l# [4 b! M% a7 \6 N3 X4 ^2 i% I9 \& x
数据统计.png
9 Y9 E. F; [% c' G+ I# X2 G
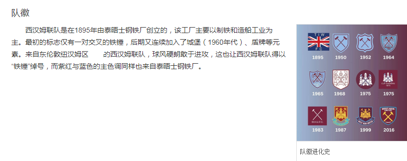
# b$ d) F: @2 W球队文化:& O; ^# b& k0 ~! _( B

! C3 l! R2 c# z9 w1 g7 z 队徽.png
' h6 V0 l! p9 Y
% F" |; {" r% |0 N% O 球衣.png
4 v6 s% I* e5 X  k7 L6 c: w2 v0 `8 \) v: Z7 A6 y

1 w8 i5 N6 B: o  F: ~6 @
* e" b% E8 E7 @2 L  w. C绰号6 P, W) v. E- v2 a/ i
西汉姆联及其球迷通常被称作“铁锤帮”(The Hammers)。这一绰号一方面源于俱乐部起源于泰晤士钢铁厂的历史,另一方面与俱乐部的名称有关(Hammer与Ham)。 [12]此外球队还有“铁军”(The Irons)的绰号。由于俱乐部身处伦敦,也有部分媒体以“伦敦男孩”(The Cockney Boys)相称。此外“足球学院”(The Academy of Football)或“学院”(Academy)也是俱乐部的绰号。
! E, G2 k% _+ T$ V. C( i5 z队歌
/ \/ Z3 [+ d7 I; X  M2 m西汉姆联球迷因为高唱球队的队歌《我永远在吹泡泡》(I'm Forever Blowing Bubbles)而驰名于英格兰足坛。20世纪20年代,时任球队主教练的查理·佩恩特最早将这首歌曲推荐给了俱乐部。为了增强感染力,佩恩特还不时邀请乐队在现场为副歌部分伴奏。厄普顿公园的球迷们后来对歌曲的内容进行了微调,并在歌曲结尾以“联队,联队”的呐喊作结。
* G" u; P2 x. z) c
# s& P9 F9 S- s4 M  q5 x
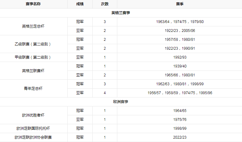
  b* F/ f1 o* _& P  o0 G) H6 @球队荣誉:0 [+ t9 {7 t9 q4 \9 ]# ~1 T; \: V5 N

, J( r, y4 F0 A2 M; d" j- y# {& o( Q) }
( U* ~# b* w! A4 P- C- r+ L
球队荣誉.png
回复

使用道具 举报

36

主题

1万

回帖

3789

金币

千足金牌会员

积分
50064

老会员美女勋章光影行者

发表于 2024-12-14 08:34 | 显示全部楼层
英超的球队都很熟悉,西汉姆联现在不算强队了,曾经也辉煌过
回复 支持 反对

使用道具 举报

822

主题

1万

回帖

4564

金币

千足金牌会员

积分
40517

老会员交易勋章光影行者

发表于 2024-12-14 09:31 | 显示全部楼层
西汉姆最近在联赛的表现比较一般的,存在感还是比较低的啊。
回复 支持 反对

使用道具 举报

62

主题

4万

回帖

1420

金币

钻石用户

积分
124171

万时之王老会员勤奋勋章交易勋章光影行者

发表于 2024-12-14 10:10 | 显示全部楼层
这个俱乐部也是可以好好了解下就好了,不关注的额! 反正也是接触不到的了!
回复 支持 反对

使用道具 举报

3912

主题

8万

回帖

8905

金币

海燕硕士

积分
244127

万时之王老会员精华勋章勤奋勋章

发表于 2024-12-14 10:13 | 显示全部楼层
关于这个足球俱乐部的话呢自己也不是非常的关注不过铁锤帮的话呢倒听很多人都说过的呢感觉他的技术和实力都不怎么样
回复 支持 反对

使用道具 举报

3912

主题

8万

回帖

8905

金币

海燕硕士

积分
244127

万时之王老会员精华勋章勤奋勋章

发表于 2024-12-14 10:13 | 显示全部楼层
奔四 发表于 2024-12-14 10:10+ E: e7 H8 T3 ~# Y* J6 f
这个俱乐部也是可以好好了解下就好了,不关注的额! 反正也是接触不到的了! ...

; y% y7 g, V6 w特别是喜欢玩英超的朋友的话呢,就千万不要错过,反正就可以好好关注起
回复 支持 反对

使用道具 举报

3912

主题

8万

回帖

8905

金币

海燕硕士

积分
244127

万时之王老会员精华勋章勤奋勋章

发表于 2024-12-14 10:13 | 显示全部楼层
百万富豪 发表于 2024-12-14 09:315 |9 r' ?9 O4 Z5 |0 l1 ?# y! z, P
西汉姆最近在联赛的表现比较一般的,存在感还是比较低的啊。

# k, i# V" y. U* c( z整个联赛当中的表现的话呢,确实还是可以的,大家适当的玩一下应该也是不错的嘛
回复 支持 反对

使用道具 举报

2

主题

2482

回帖

2395

金币

铜牌用户

积分
9740

老会员

发表于 2024-12-14 11:27 | 显示全部楼层
看完这段历史,真的是为西汉姆的球迷感到佩服。从曾经的“升降机”到如今稳定的英超球队,这一路走来不容易啊!
回复 支持 反对

使用道具 举报

1053

主题

2万

回帖

8569

金币

铂金用户

积分
74633

老会员交易勋章光影行者

发表于 2024-12-14 13:11 | 显示全部楼层
西汉姆联现在的表现不咋地,存在感很低了呀
回复 支持 反对

使用道具 举报

1053

主题

2万

回帖

8569

金币

铂金用户

积分
74633

老会员交易勋章光影行者

发表于 2024-12-14 13:12 | 显示全部楼层
旅行家 发表于 2024-12-14 11:27
/ p$ Z$ a/ H! T+ t2 j8 G看完这段历史,真的是为西汉姆的球迷感到佩服。从曾经的“升降机”到如今稳定的英超球队,这一路走来不容易 ...

7 g) P4 }" \  A6 `% I+ Y哪个队都有过曾经的辉煌历史吧,一路走来都是不容易的
回复 支持 反对

使用道具 举报

3411

主题

8万

回帖

9624

金币

海燕硕士

积分
236129

万时之王老会员精华勋章勤奋勋章交易勋章光影行者

发表于 2024-12-14 20:17 | 显示全部楼层
这个俱乐部呢,也是一个非常不错的有实力大球队,还是有过很多的辉煌的
回复 支持 反对

使用道具 举报

3411

主题

8万

回帖

9624

金币

海燕硕士

积分
236129

万时之王老会员精华勋章勤奋勋章交易勋章光影行者

发表于 2024-12-14 20:17 | 显示全部楼层
飞舞倾城 发表于 2024-12-14 13:11$ Q5 A- |& K& \. y! ]) f
西汉姆联现在的表现不咋地,存在感很低了呀
% }: r: z  {% u
只是说现在的成绩不怎么样,但是从历史成绩来看呢,还是有一些辉煌
回复 支持 反对

使用道具 举报

3411

主题

8万

回帖

9624

金币

海燕硕士

积分
236129

万时之王老会员精华勋章勤奋勋章交易勋章光影行者

发表于 2024-12-14 20:17 | 显示全部楼层
旅行家 发表于 2024-12-14 11:27
2 T7 l/ \  ~7 ?  T看完这段历史,真的是为西汉姆的球迷感到佩服。从曾经的“升降机”到如今稳定的英超球队,这一路走来不容易 ...
# [% N' o6 o' k3 X
这个每一个球队走出来都是非常的不容易的,都是一个艰辛的过程啊
回复 支持 反对

使用道具 举报

480

主题

3万

回帖

4665

金币

铂金用户

积分
84327

老会员美女勋章勤奋勋章交易勋章

发表于 2024-12-14 20:23 | 显示全部楼层
对西汉姆联足球俱乐部没有什么了解的,看看版主的分享了
回复 支持 反对

使用道具 举报

1583

主题

8万

回帖

2万

金币

海燕硕士

积分
260062

万时之王老会员精华勋章勤奋勋章交易勋章光影行者

发表于 2024-12-15 06:17 | 显示全部楼层
这个俱乐部也是比较熟悉的了,英超的球队都是非常出名的呢
回复 支持 反对

使用道具 举报

您需要登录后才可以回帖 登录 | 立即注册

本版积分规则

广告合作|福利汇|论坛简介|钱包教程|手机版|小黑屋|Archiver|海燕论坛

快速回复 返回顶部 返回列表